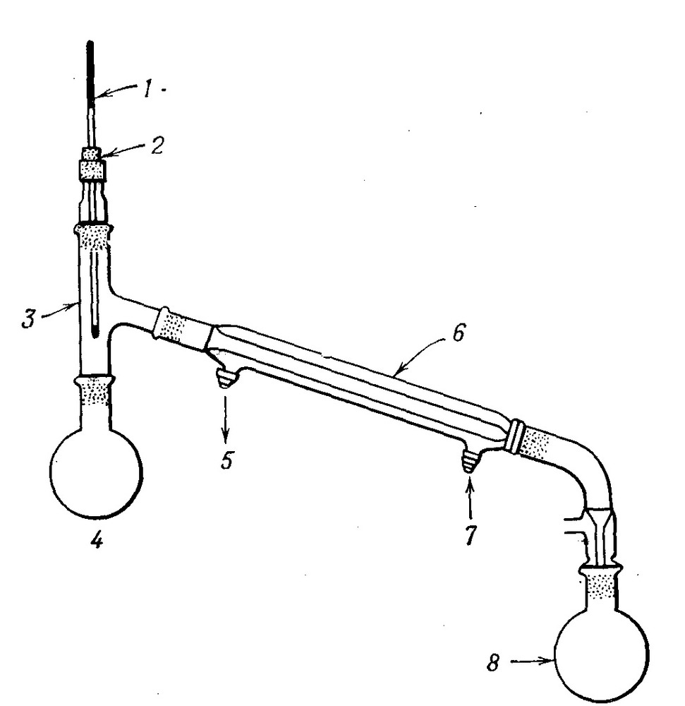
На учительском столе собрана лабораторная установка для перегонки жидкостей (рис.88).
В перегонную колбу учитель наливает воду, подкрашенную в оранжевый цвет растворимой неорганической солью (дихроматом калия).
Так вы воочию убедитесь, что в очищенной воде этого вещества не будет. Для равномерного кипения в колбу бросают 3 − 4 кусочка пористого фарфора или пемзы (кипелки).В холодильник подаётся вода, а содержимое перегонной колбы нагревается до кипения с помощью нагревательного прибора (спиртовки, газовой горелки, электронагревателя). Пары воды, попадая в холодильник, конденсируются, и дистиллированная вода стекает в приёмник.
Какую температуру показывает термометр? Как вы думаете, через какой отвод в холодильник подаётся холодная вода, а через какой она сливается?

Рис. 88 Лабораторная установка для дистилляции жидкостей

После дистилляции вода достигает 70 − 85 градусов. В холодильник подаётся вода через отвод под номером 7, а сливается через отвод под номером 5:
